无锡工厂:无锡市惠山经济开发区前洲配套区
河南工厂:河南省郸城县产业集聚区未来大道88号
电 话:0510-88880688
传 真:0510-88886880
郭先生:13812280688
1一、 施工方案
聚氨酯板、楼承板专业生产厂家实耐建材2020年5月9日讯 施工应采用流水施工方案。先防潮隔汽及地面保温、保温板部分,后包边包角装饰部分。遵照先主体后围护,先结构后装饰,依次投入施工。
2二、 安装前准备工作
安装前检查钢结构、土建是否达到设计要求的直线度、平面度等,预制库板槽的宽度、直线度是否达到要求,库板基础轴线与轴线是否垂直,否则应通知土建方整修,合格后方可施工。

❖(一)开工前的准备工作(聚氨酯板)
1、准备安装工具:(1)锁盒扳手(随机工具) (2)密封膏注射枪(随机工具)
2、检查待装库板有无损伤,清除钩盒和锁盒中的异物,并用锁盒扳手转动锁钩看是否灵活,如有阻滞应进行修复。
3、用凹凸模具块检测库板结合面处的凹凸槽,凹凸槽不平整的泡沫必须修平,要求模块与库板间隙δ≤2mm,达不到要求的现场整修。同时清除内外面板四周边缘10~20mm的塑料薄膜。
❖(二)、现场搬运(聚氨酯板同聚苯板)
搬运中若采用吊车等设备,应用两根绳索捆在库板的两头,搬运中使整垛库板平移。
而且应注意采取措施避免绳子张紧时的力硌伤库板。若应叉车搬运,应在叉车臂上套上橡胶套等柔软垫板,避免擦伤库板。
若不具备条件需人工搬运,注意轻拿轻放,避免擦伤或碰伤板面。
聚氨酯板现场堆放应在下面垫平整方木条或保温泡沫,放置平整防止由于地面不平造成的库板损伤,并远离火源。

3(三)、库板的安装
❖ 1、首先根据设计图纸确定固定侧板C型钢的标高,及平面位置,然后利用两端柱子放线标记C型钢位置,据此准确将C型钢与钢柱或砼柱连接并固定牢固。
❖ 2、侧板的安装 先把侧板平放在地面上,根据C型钢位置找好固定库板的蘑菇头尼龙螺栓孔的位置,钻孔。
然后侧立库板让凸边在上,将密封膏管口切开,并将注射嘴切成45度的小切口后拧上。
然后一起装入密封膏注射枪,在库板凸槽的A、B两处各均匀注射一道密封膏(约φ6~8mm)。
每块库板在与其它库板连接前,均应先在凸槽两边处注射密封膏。再把蘑菇头的凹槽中打满密封胶后插入钻好的孔中。立起侧板,将其放在预制槽中。
根据要求的相关因素确定第一张库板的坐标,保证整块库板在X、Y、Z轴三个方向的平直。

❖ 3、方法可借助水平管、垂直检测尺,水平检测尺。根据设计图纸用注水的水平管测出库板Z轴的标高,若有偏差可用聚氨酯泡沫找平。
然后用垂直检测尺靠在库板压痕上调整库板Y轴垂直度,直至库板调正为止,X轴方向直线度可依据C型钢位置确定,也可用水平尺测量调整。
库板调整好后,把连接件(热浸锌见下图)插入尼龙螺栓中,把紧螺母。紧接着将连接件与C型钢焊牢,在此过程一将侧板扶好把牢,不能使其移位。

第二块库板经钻孔、打胶、插蘑菇头后,同第一块板放到预制槽中,
同上检测X方向的直线度,Y方向的平面度及Z轴的坐标是否一样,同时要求库板间缝隙δ≤3mm(100mm、125mm),δ≤4mm(150mm、180mm、200mm)。
各项完成后,将钩锁盒锁住,缩紧的顺序是从中间的锁钩开始,向两端进行。
铺设一块,缩紧一块,并把角铁块穿过螺栓把紧。然后将固定侧板的连接件焊接于C型钢上。

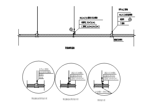
❖ 4、顶板的安装 顶板吊装可借助开降平台或滑轮等,顶板与顶板之间的联接方法和侧板与侧板之间的联接方法相同,在安装过程中要保证各顶板外表面及两端平齐。
顶板的安装其钻孔、打胶、板缝等要求同墙板,若采用T型铝(替代T型铁)吊顶,库板吊点间距视顶板荷载确定(见下表)。间距大于设计要求应增加吊点数量,每道吊点都应与钢梁或檀条相联。(见下图)


5、打胶 侧板和顶板安装好后应清洁内外面板板缝,打密封胶,要求均匀、美观、严密(见图八)。
如果紧靠房间墙壁的库体的外板缝无法注射密封膏,则应在库板开始安装时,将密封膏注射更饱满一些,以保证密封效果。
侧板与预制槽道之间的缝隙要现场发泡,然后水泥沙浆找平。(见下图)

4(四)、包角、开洞处理
❖ 1、包角处理 包角处如需现场发泡,聚氨脂保温板与保温板搭接处预留50mm空隙,以便于发泡,
发泡前首先把角铝(或成品弧铝)用抽芯铝拉铆钉固定内角,角铝(或圆弧铝)与库板接触面打密封胶,待密封胶凝固后(凝固时间应在24小时以上),
再包外包角,(外包角如下图所示),外包角边缘与库板接触面下,铺垫单面带胶软泡,用拉铆钉固定(@100~150mm),间距均匀,然后进行发泡料浇注(发泡完成后,清理溢出的发泡料)。

❖ 2、板上若开门、窗等孔洞应根据设计图纸定位,划线,用签字在四个角点钉过库板在另一面钢板上形成点痕,
然后用曲线锯或其它工具沿划线切割,开洞后,洞边要做包边处理。
库板安装完毕,所有的锁孔堵上胶堵,揭去薄膜,清洁库板表面污渍。

